Rotate the swing bearing so the outside soft zone (Item 1) [Figure 40-10-6] is to the right hand side as shown.
Use a tap in the holes (Item 2) [Figure 40-10-6] of the swing bearing to remove any dried thread lock adhesive.
Install the upperstructure onto the swing bearing using the alignment marks.
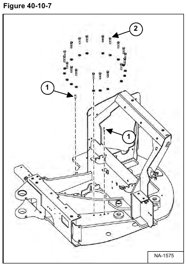
Install the dowel pins (Item 1) [Figure 40-10-7].
Install the bolts (Item 2) [Figure 40-10-7] and washers.
Tighten the bolts to 105 – 115 Nโขm (78 – 85 ft-lb) torque.
Install the swing motor drive carrier. (See Removal And Installation on Page 20-91-1.)
Check the backlash between the gears by moving the frame back and forth at several points throughout 360ยฐ of frame rotation. There must be some backlash present.
Install the swing motor. (See Removal And Installation on Page 20-90-1.)
Install the hoses [Figure 40-10-8] on the swivel joint.
Remove the chains and lifting fixture.
Install the engine. (See Engine Removal And Installation on Page 60-10-11.)
Install the fuel tank. (See FUEL TANK on Page 40-120-1.)
Install the hydraulic control valve. (See Removal And Installation on Page 20-40-1.)
Install the travel control valve. (See Removal And Installation on Page 20-190-1.)
Install the counterweight. (See Removal And Installation on Page 40-90-1.)
Install the right side cover. (See Removal And Installation on Page 40-220-1.)
Install the boom. (See Removal And Installation on Page 40-150-1.)


