Lower the blade all the way.
Put all the control levers in neutral.
Remove the boom. (See Removal And Installation on Page 40-150-1.)
Remove the right side cover. (See Removal And Installation on Page 40-20-1.)
Remove the counter weight. (See Removal And Installation on Page 40-90-1.)
Remove the travel control valve. (See Removal And Installation on Page 20-190-1.)
Remove the hydraulic control valve. (See Removal And Installation on Page 20-40-1.)
Remove the fuel tank. (See FUEL TANK on Page 40-120-1.)
Remove the engine. (See Engine Removal And Installation on Page 60-10-11.)
Remove the hoses from the top of the swivel joint [Figure 40-10-1].
Remove the swing motor. (See Removal And Installation on Page 20-90-1.)
Remove the swing motor drive carrier. (See Removal And Installation on Page 20-91-1.)
Mark the upperstructure to swing bearing and to the track frame for assembly (Item 1) [Figure 40-10-2].
Fasten a chain through the front of the excavator frame (Item 1) [Figure 40-10-3].
Fasten chains to the counter weight mounts (Item 1) [Figure 40-10-4].
Install the front and rear lifting chains to a lifting fixture above the canopy / cab.
The lifting fixture must extend over the side of the canopy / cab to prevent the chains from hitting the ROPS / TOPS.
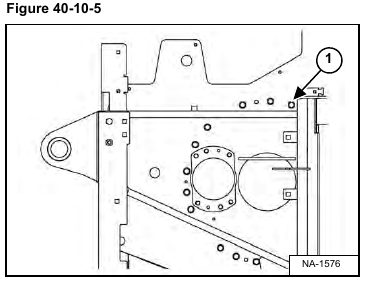
Partially disassemble the upperstructure from the swing bearing by removing all but four bolts which are spaced at 90ยฐ from each other (Item 1) [Figure 40-10-5].
NOTE: For disassembly safety a minimum of four evenly spaced bolts must remain installed, to be removed later.
Apply a small amount of lifting pressure to the upperstructure with the lift sling. Remove the four remaining bolts holding the upperstructure to the swing bearing.
Lift the upperstructure off of the swing bearing. Put the upperstructure on suitable supporting stands or blocks.




