Remove the valve and spring from the cylinder head.
(See Cylinder Head Disassembly and Assembly on Page 70-80-7.)
Remove the carbon from the valve guide.
Measure the valve stem O.D. [Figure 70-80-25].
Measure the valve guide I.D. [Figure 70-80-25].
Calculate the clearance. If the clearance exceeds the allowable limit, replace the valve and/or valve guide.
To remove and replace the valve guide, make the driver tool as shown in figure [Figure 70-80-26].
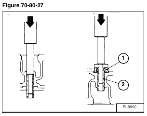
Press the used valve guide out of the cylinder head using the special driver tool [Figure 70-80-27].
Put oil on the outside diameter of the new valve guide.
Press the new valve guide into the cylinder head from the top side. Use the special driver tools (Items 1 & 2) [Figure 70-80-27], press the new guide until the tool contacts the cylinder head.
Ream the valve guide to the correct specifications.



