To remove and replace the valve guide, make the driver tool as shown in [Figure 60-80-27].
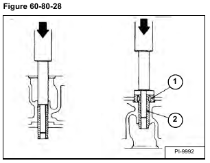
Press the used valve guide out of the cylinder head using the special driver tool [Figure 60-80-28].
Put oil on the outside diameter of the new valve guide. Press the new valve guide into the cylinder head from the top side. Use the special driver tools (Items 1 and 2) [Figure 60-80-28], press the new guide until the tool contacts the cylinder head.
Ream the valve guide to the correct specifications.

