Remove the cylinder head. (See Cylinder Head Removal And Installation on Page 60-80-4.)
Remove the top edge from the cylinder bore with a ridge reamer.
Remove the oil pan.
Turn the flywheel and put a pair of connecting rods at bottom dead center.
Remove the connecting rod bolts.
Installation: Tighten the connecting rod bolts to 44 – 49 Nโขm (33 – 36 ft-lb) torque.
Remove the rod cap and bearing.
Use a hammer handle and push the piston / connecting rod assembly out of the cylinder bore [Figure 60-90-1].
NOTE: Make sure the pistons are marked so they will be returned to the same cylinder bore.
Installation: Make sure the marks on the connecting rod and bearing are aligned when installing the bearing cap (Item 1) [Figure 60-90-2].
Repeat the procedure to remove the other piston / connecting rod assemblies from the engine block.
Remove the piston rings [Figure 60-90-3].
Remove the snap ring (Item 1) and piston pin (Item 2) [Figure 60-90-3].
Separate the piston (Item 3) from the connecting rod (Item 4) [Figure 60-90-3].
Installation: When installing new rings, assemble the ring so the mark (Item 1) near the gap faces the top of the piston. When installing the oil ring, place the expander joint (Item 2) on the opposite side of the oil ring gap (Item 3) [Figure 60-90-4].
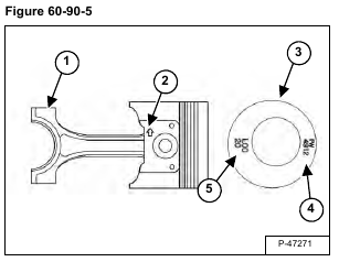
Installation: When reassembling, align the marks (Item 1) on the connecting rod and piston (Item 2). Heat the piston in clean engine oil to 80ยฐC (176ยฐF) and tap the piston pin into position. Place the piston rings so that there are gaps every 120ยฐ (Items 3, 4 and 5) [Figure 60-90-5] with no gap facing the piston pin in the cylinder.
Measure the I.D. of the piston pin bore in both horizontal and vertical directions [Figure 60-90-6].
If the measurement exceeds the allowable limit, replace the piston.






