Hydraulic Pump
Hydraulic Tractor Troubleshooting
Skip to content
Menu
Home
Contact Us
Posted on
March 6, 2022
by
Jack
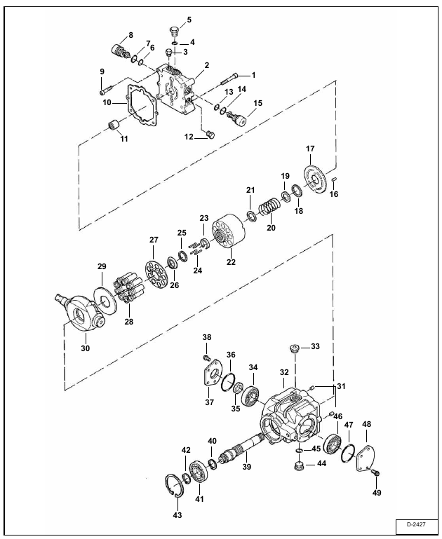
BobCat 753 – HYDROSTATIC PUMP – Parts Identification (Right Half)
Published by
Jack
View all posts by Jack
Post navigation
Prev
BobCat 753 – HYDROSTATIC PUMP – Removal And Installation
Next
BobCat 753 – HYDROSTATIC PUMP – Parts Identification (Left Half)