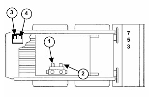
Posted on April 9, 2022 by Jack BobCat 753 – ELECTRICAL/HYDRAULIC CONTROLS REFERENCE – Controls Identification Chart NOTE: The key Switch fully left position activates solenoids number 1 and 4. The high flow rocker switch in the left side instrument panel must be ON to activate solenoid number 8.